奚梦瑶一跤摔出个维密大中华区品牌大使?却被网友痛批买水军!
奚梦瑶一跤摔出个维密大中华区品牌大使?却被网友痛批买水军!
说起奚梦瑶,最令人印象深刻的就是2017年的奚梦瑶摔倒事件了。前一秒奚梦瑶还在仙气飘飘地和观众打招呼,下一秒就不慎踩到裙纱摔倒了,整个人趴在地上,过了将近10秒才在后面的模特的搀扶下重新站起来完成走秀。就这样,奚梦瑶的摔倒成了维密大秀史上的“第一摔”。

当时出了这件事情之后很多网友都在猜测,奚梦瑶的职业生涯是不是就断送了。


但是再看,只能说网友们真的是太年轻!奚梦瑶免试受邀今年的维密大秀。不仅如此,维密还官宣何穗、奚梦瑶担任维密大中华区品牌大使!

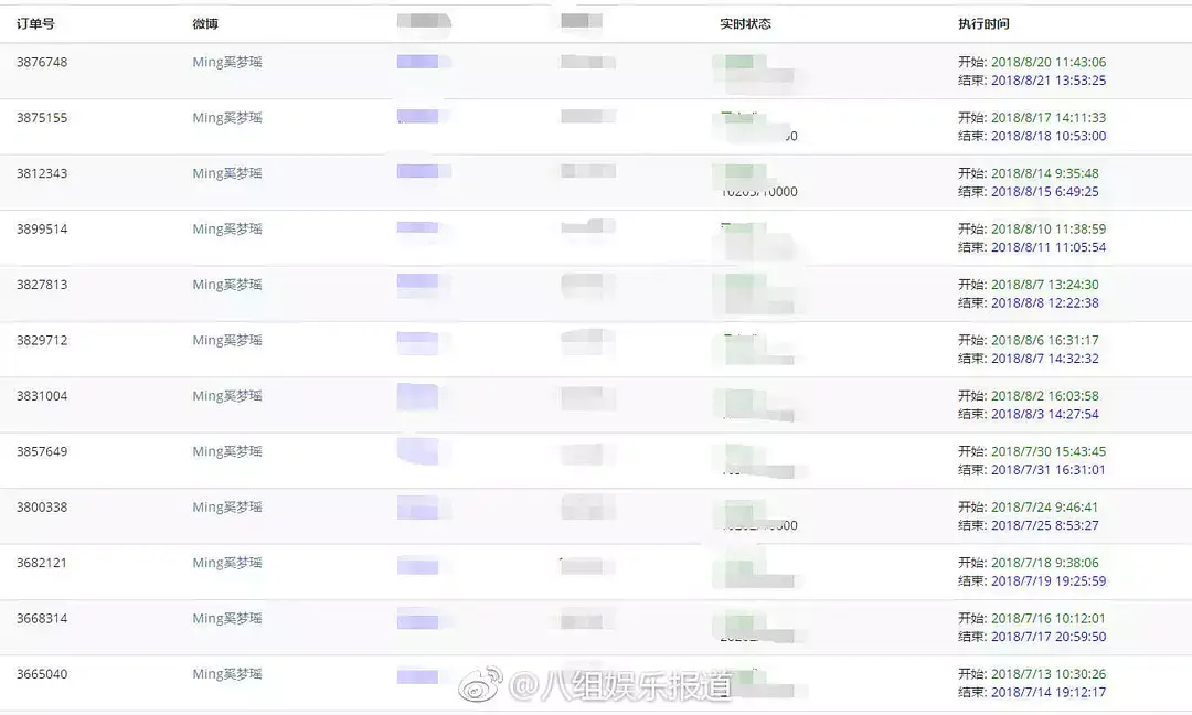
不过有时尚博主发了微博,质疑奚梦瑶买水军。原因就是奚梦瑶官宣维秘中华区大使之后水军转评买错地方买到何穗那条下面了...










不过面对这样的质疑,奚梦瑶的工作室回复“清者自清”

之后,就连奚梦瑶本人也是亲自下场

然后原博回复了

原博说之前都是高级水军,这一次是翻车了。不过买错水军....也是常规操作不是第一次了。

随手搜一下原博主的微博微博——奚梦瑶 戛纳




微博转评就有买的 16年时候买的还是便宜的水军哈哈哈哈哈只是单纯夸赞的转发,到了18年有野心买带名字跟热度,转发了结果买错了。可以说是很苦逼了,附上网友扒出的买水军石锤。这波你怎么看呢?

-
- 华夏民居第一宅-山西王家大院
-
2025-03-09 01:06:30
-
- 我们为什么会分手?
-
2025-03-09 01:04:15
-
- 推荐10部必看动作大片,每一部都不可错过
-
2025-03-09 01:01:06
-
- 台北故宫博物院
-
2025-03-09 00:58:51
-
- 茅台1935改名为遵义1935最新详情!口感怎么样?多少钱一瓶?
-
2025-03-09 00:56:36
-
- 服装裁剪详解荷叶边的制作方法
-
2025-03-09 00:54:20
-
- 左耳什么时候播 电视剧左耳播出时间、演员表剧情介绍
-
2025-03-09 00:52:06
-
- 中美对抗看似剑拔弩张,可其实都有底线,美国不敢和中国开战
-
2025-03-09 00:49:51
-
- 公安部一号案,黑老大张宝林涉黑枪击案,被三百公安武警围捕
-
2025-03-08 15:15:44
-
- 谢娜和刘烨相恋6年,被称为“金童玉女”,为何最后各生欢喜?
-
2025-03-08 15:13:28
-
- 十本已完结机甲流科幻小说,男人永远的浪漫
-
2025-03-08 15:11:14
-
- 三个女孩,三个故事
-
2025-03-08 15:08:58
-
- 突然戒烟会致命?不仅导致癌症,还会猝死?医生告诉你真相
-
2025-03-08 15:06:44
-
- 年轻时做小三 被富商包养 多次被封杀 袁咏仪的彪悍人生比电影更精彩
-
2025-03-08 15:04:27
-
- 舒城中学、一中这些学子高校录取通知书已到!(附名单)
-
2025-03-08 15:02:13
-
- 封神演义封神名单整理统计
-
2025-03-08 14:59:58
-
- 抚顺交通宾馆消失了
-
2025-03-08 14:57:43
-
- 推荐8部关于日本黑社会题材的电影
-
2025-03-08 14:55:28
-
- 女子海边冲浪身后跟了5条鲨鱼 实拍鲨鱼吃人残忍过程
-
2025-03-08 07:48:46
-
- 打麻将的四个必胜流程,是赢牌的通用公式,学会后很少输
-
2025-03-08 07:46:31



黄宏自曝“被免职”真相:年纪大熬不住,离职退休
ipx7防水级别对照表